Details
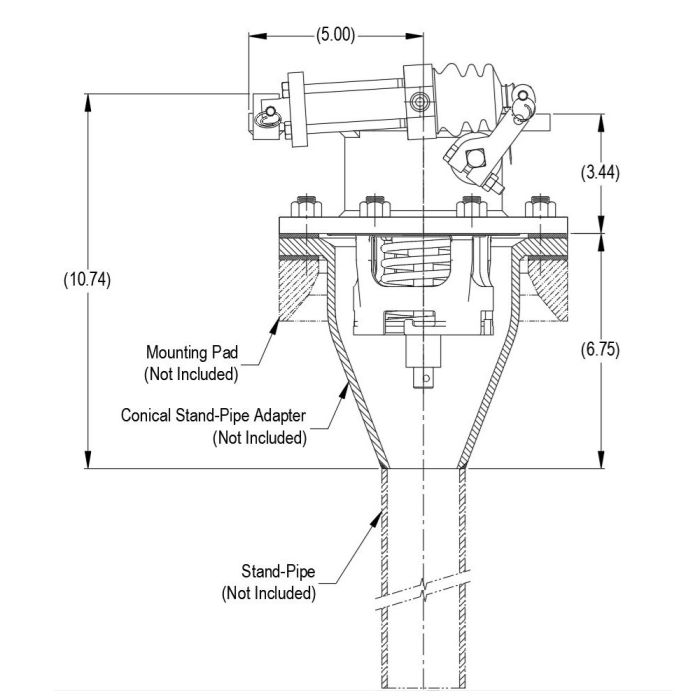
Betts Hydraulic Top Unloading Valve is classified as an internal self-closing stop valve and is widely used on DOT407 and 412 cargo tanks. The valve is designed to be installed on the top of the tank for top unloading applications. Please note: This valve does not have a sacrificial shear section. CFR49 178.345-8(c) requires the valve to be located within or between adjacent rollover damage protection devices. Phonographic finishes on the flange faces ensure proper gasket sealing. The actuator has a 1/4" NPT hydraulic inlet port. The 316-stainless body and replaceable Tef-Sil seals make this a versatile and proven valve that satisfies the many requirements of the chemical transportation industry. The 316 stainless conical adapter is sold separately and can be mounted between the tank mounting pad and the valve. The conical adapter is able to be welded to a 2" standpipe, and the conical design allows it to be modified to fit larger pipe sizes.
- Valve MAWP: 50 psi [3.4 bar]
- Minimum bursting pressure: 200 psi [13.8 bar]
- Working temperature range: -40 F to 400 F [-40 C to 204 C]
- Hydraulic line pressure: Minimum 1,500 psi [103 bar]/Maximum 3,500 psi [241 bar].
- Hydraulic volume to fully open valve: 1.08 in3 [17.7 ml].
